Front Wheel Installation
If the front wheel is removed for any reason, it must be reinstalled in the correct rotating direction.
Clean all wheel components before installation. Apply a light coat of all-purpose grease to the axle and both spacers.

-
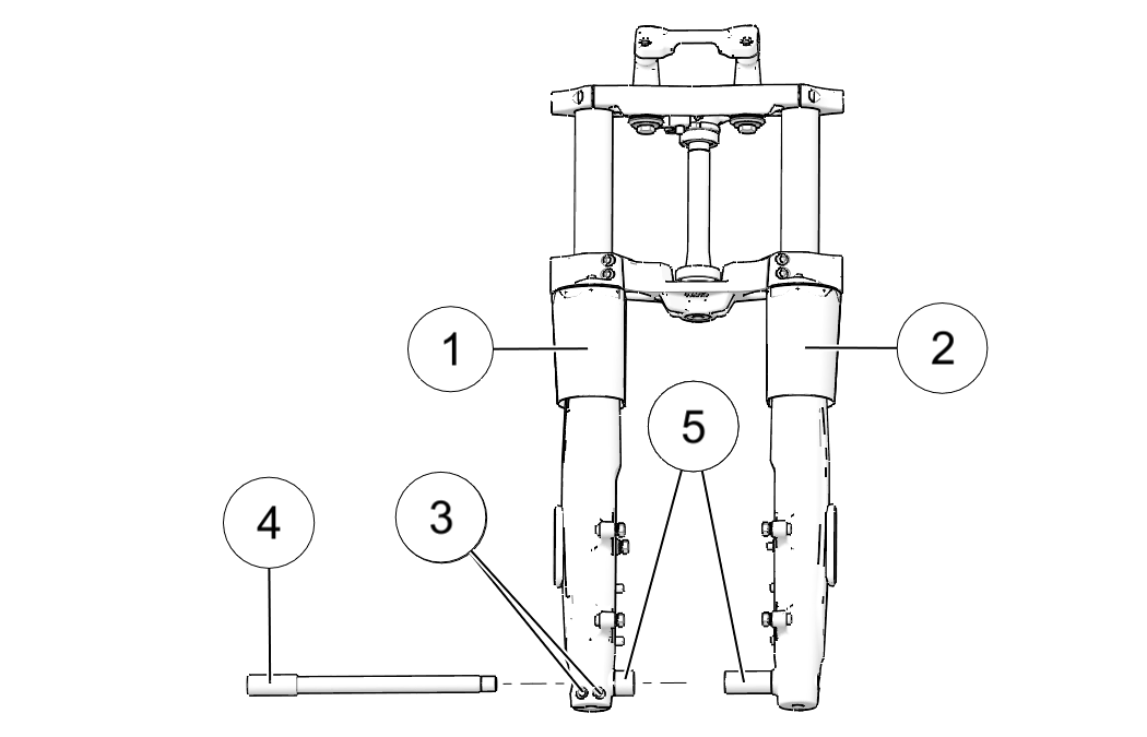
1 Right Fork Tube
-
2 Left Fork Tube
-
3 Pinch Bolt 18–19 ft-lbs. (24.4–25.7 Nm)
-
4 Axle Bolt 52 ft-lbs. (70 Nm)
-
5 Wheel Spacers 0.925 in. (23.5 mm)