Battery Removal

- Remove the seat. See Seat Removal.
-
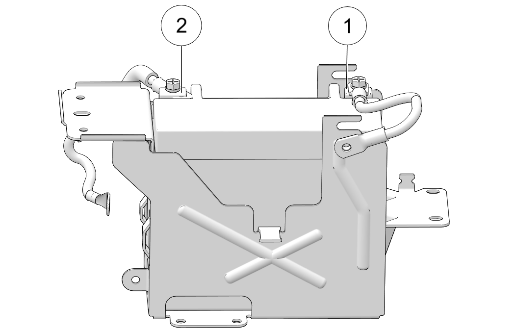
Remove the negative (-) battery cable 1 from the battery terminal. Position the cable well clear of the terminal.
Tool: 10 mm wrench
-
Remove the fastener securing the battery cover to the frame crossmember.
-
Lift the cover, with the attached Vehicle Control Module (VCM) in place, folding the wires toward the fuel tank.
Tool: 5 mm hex key wrench
NOTICEDo not allow the VCM to touch the battery terminals or it will damage the VCM instantly. -
Remove the rubber cover from the positive (+) battery cable 2 and remove the cable from the terminal. Position the cable well clear of the terminal.
-
Remove the battery.